Узлы усы

Схема крепления к страховочным веревкам. Узлы усы. Узлы усы. Альпинистские узлы удавка. Узлы уса самостраховки.
Схема крепления к страховочным веревкам. Узлы усы. Узлы усы. Альпинистские узлы удавка. Узлы уса самостраховки.
Ус самостраховки из репшнура. Альпинистская обвязка из веревки. Самостраховка альпинизм. Узел для утолщения троса. Узлы уса самостраховки.
Ус самостраховки из репшнура. Альпинистская обвязка из веревки. Самостраховка альпинизм. Узел для утолщения троса. Узлы уса самостраховки.
Усы самостраховки из веревки. Узлы усы. Узлы усы. Страховочный узел. Туристический узел для связывания рук.
Усы самостраховки из веревки. Узлы усы. Узлы усы. Страховочный узел. Туристический узел для связывания рук.
Ус самостраховки с карабинами. Ус самостраховки двойной с карабином. Узлы усы. Узлы усы. Схватывающий узел прусика.
Ус самостраховки с карабинами. Ус самостраховки двойной с карабином. Узлы усы. Узлы усы. Схватывающий узел прусика.
Система самостраховки альпинистов. Усы самостраховки в альпинизме. Морские узлы для связывания рук. Усы самостраховки. Двойной uiaa узел.
Система самостраховки альпинистов. Усы самостраховки в альпинизме. Морские узлы для связывания рук. Усы самостраховки. Двойной uiaa узел.
Узел для усов самостраховки. Лучший узел для страховочного уса. Узел для крепления карабина к веревке. Узлы для самостраховки. Ус самостраховки из репшнура.
Узел для усов самостраховки. Лучший узел для страховочного уса. Узел для крепления карабина к веревке. Узлы для самостраховки. Ус самостраховки из репшнура.
Кроль жумар. Узлы усы. Репшнур страховочный узел. Узлы для привязывания верёвки к карабину. Узел для карабина.
Кроль жумар. Узлы усы. Репшнур страховочный узел. Узлы для привязывания верёвки к карабину. Узел для карабина.
Петля самостраховки. Узел стыковочный ус-1вп® ei60. Узлы усы. Узлы усы. Узел альпинистский страховочный.
Петля самостраховки. Узел стыковочный ус-1вп® ei60. Узлы усы. Узлы усы. Узел альпинистский страховочный.
Ус самостраховки с карабинами. Узлы усы. Спасательный узел булинь. Схема крепления страховочного каната. Обвязочный булинь узел.
Ус самостраховки с карабинами. Узлы усы. Спасательный узел булинь. Схема крепления страховочного каната. Обвязочный булинь узел.
Узел для связывания лодок. Узлы туристические схватывающий узел. Узел для проволоки. Усы самостраховки в альпинизме. Узлы усы.
Узел для связывания лодок. Узлы туристические схватывающий узел. Узел для проволоки. Усы самостраховки в альпинизме. Узлы усы.
Страховочный узел схема. Веревки (репшнуры) для страховочных петель. Самостраховка узлом прусика. Узлы усы. Усы самостраховки в альпинизме.
Страховочный узел схема. Веревки (репшнуры) для страховочных петель. Самостраховка узлом прусика. Узлы усы. Усы самостраховки в альпинизме.
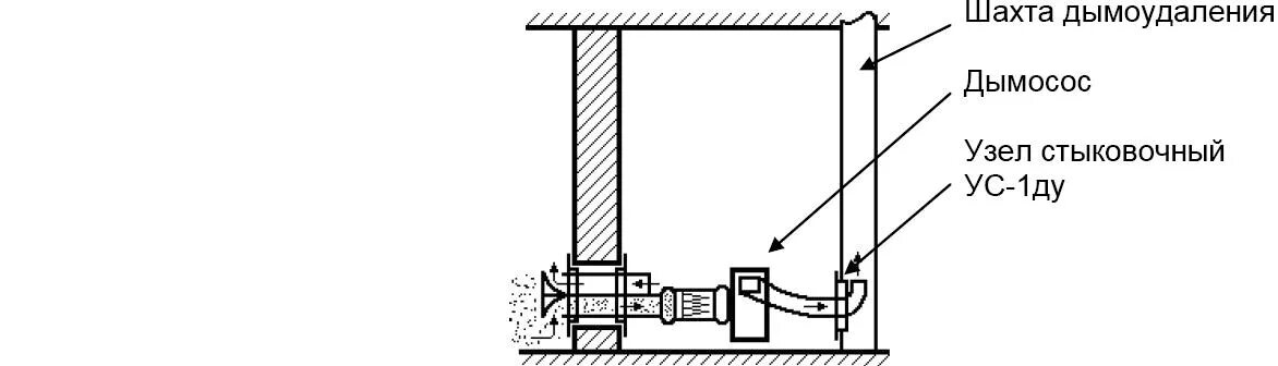
Регулируемый ус самостраховки. Самостраховка альпинизм. Схватывающий прусик узел схема. Страховочные усы альпиниста. Стыковочный узел для дымососа.
Регулируемый ус самостраховки. Самостраховка альпинизм. Схватывающий прусик узел схема. Страховочные усы альпиниста. Стыковочный узел для дымососа.
Узел для усов самостраховки. Узел для резинки. Сблокированная страховочная система с 2-мя «усами» самостраховки. Узлы усы. Узел для обвязки страховочной системы.
Узел для усов самостраховки. Узел для резинки. Сблокированная страховочная система с 2-мя «усами» самостраховки. Узлы усы. Узел для обвязки страховочной системы.
Монтаж стыковочного узла дымососа. Узлы уса самостраховки. Узлы усы. Узлы усы. Блокировка страховочной системы двойной булинь.
Монтаж стыковочного узла дымососа. Узлы уса самостраховки. Узлы усы. Узлы усы. Блокировка страховочной системы двойной булинь.
Узлы усы. Узлы усы. Узел для усов самостраховки. Узел для резинки рыболовной. Страховочный пояс из веревки.
Узлы усы. Узлы усы. Узел для усов самостраховки. Узел для резинки рыболовной. Страховочный пояс из веревки.
Узлы уса самостраховки. Узлы усы. Обвязочный булинь. Беседочная обвязка нижняя страховочная система. Двойной булинь на обвязке.
Узлы уса самостраховки. Узлы усы. Обвязочный булинь. Беседочная обвязка нижняя страховочная система. Двойной булинь на обвязке.
Усы самостраховки веревка. Узел для привязки кольца. Узлы усы. Узел двойной булинь на обвязке. Блокировка страховочной системы двойной булинь.
Усы самостраховки веревка. Узел для привязки кольца. Узлы усы. Узел двойной булинь на обвязке. Блокировка страховочной системы двойной булинь.
Страховочные усы. Симметричный схватывающий прусик узел. Узлы усы. Узлы уса самостраховки. Страховочная обвязка из веревки.
Страховочные усы. Симметричный схватывающий прусик узел. Узлы усы. Узлы уса самостраховки. Страховочная обвязка из веревки.
Ввязывание усов самостраховки. Узел стыковочный вытяжной ус 18 п. Усы самостраховки веревка. Страховочный пояс из веревки. Узел для крепления карабина к веревке.
Ввязывание усов самостраховки. Узел стыковочный вытяжной ус 18 п. Усы самостраховки веревка. Страховочный пояс из веревки. Узел для крепления карабина к веревке.
Усы самостраховки веревка. Узлы туристические схватывающий узел. Ус самостраховки двойной с карабином. Схватывающий узел прусика. Узел для усов самостраховки.
Усы самостраховки веревка. Узлы туристические схватывающий узел. Ус самостраховки двойной с карабином. Схватывающий узел прусика. Узел для усов самостраховки.